Plans for a one-bedroom guest house in El Sobrante, CA

While most of our clients come to New Avenue looking for a full accessory dwelling, some choose something a little smaller to start with. We absolutely advise building bigger for a variety of reasons—more rental income, more versatility, more space. But we also recognize that every homeowner’s situation is unique.

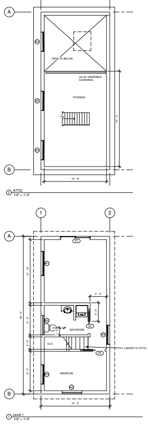
One homeowner in El Sobrante came to us looking to add an accessory structure to their backyard. The homeowner wanted a guest room with a bathroom and lots of storage.

A New Avenue design professional created an accessory structure with a bedroom, a bathroom, an attic, and a room that can be used as a living area, a home office, a creative studio, or all three. If the homeowners choose to add a kitchen in the future, they can rent this unit out for $3,000 per month.

mhelevations.PNG
mhfloorplan.PNG

New Avenue is the leading ADU builder in the San Francisco Bay Area and Portland, OR. We provide a turnkey solution for designing and building custom homes, ADUs, additions, and whole-house remodels. New Avenue gives you everything you need for easier, simpler project administration, design, and construction. Over 12 years in the industry means we know what your project will cost and will deliver what you need.

Contact us today to get all your questions answered and get your project started.

Contact Us
Previous
Previous

3 Reasons Why We Recommend You Hire a Designer for your ADU

Next
Next

Permitting of an accessory dwelling vs. an accessory structure in Albany, CA